Skip to content

What is unsharpness in radiography

Geometric unsharpness refers to the blurriness or lack of clarity in an image caused by the geometric arrangement of the x-ray source, object, and detector. Understanding and minimizing unsharpness is crucial for producing high-quality radiographic images.

Effect of source size (F = the maximum dimension of the radiating source):

A radiation source is not point-like and always has an area of several millimeters, and therefore cannot produce a sharp image. Smaller dimensions of the radiation source produce sharper images on the film.

Unsharpness cannot be completely eliminated because there are no point-like sources.

geometric unsharpness
small source
big source

Distance between object and film (d = object-to-film distance)

Another way to reduce unsharpness is to bring the film as close as possible to the surface of the test object. In other words, keep the distance between the surface of the test object on the source side and the film as small as possible.

smaller distance film
greater distance film

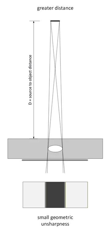
Distance from source of radiation to object (D = source-to-object distance)

Another way to reduce unsharpness is to increase the distance between the radiation source and the surface of the test object. The greater the distance from the radiation source, the smaller the unsharpness.

smaller distance
greater distance

Geometric unsharpness calculator

How to calculate geometric unsharpness in radiography? Geometric unsharpness is calculated using the formula:

Ug = F * d / D

Now calculate the unsharpness in radiographic testing with our calculator.

Unsharpness limitations according to ASME Code V Article 2

Example of unsharpness limitations:
The following limits are specified in ASME Code V Article 2 – T-274.

Material Thickness, mm [in.]

Ug-max, mm [in.]

< 50 [< 2]

0.51 [0.020]

50 through 75 [2 through 3]

0.76 [0.030]

> 75 through 100 [>3 through 4]

1.02 [0.040]

> 100 [>4]

1.78 [0.070]

Unsharpness limitations according to ISO 17636-2

The upper limit of geometric unsharpness is specified by the minimum distance [fmin] in accordance with ISO 17636-2.

SoftwareNDT Calculator 1.2
Download our free program for calculating exposure time during radiographic testing!

find out more…